Pipe Clamps for Service Entry Masts

For connecting spark gaps with service entry masts

2 Products

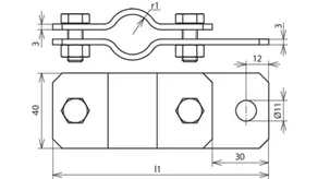
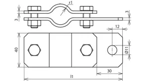
Part No. 410212 ERS 76 AB11 STTZN

GTIN 4013364026308, Customs tariff No. (EU): 85359000, Gross weight: 409.65 g, PU: 1.00 pc(s)


Images

Additional information

Pipe clamps for service entry masts, St/tZn
BS earthing pipe clamp
For integrating pipes in the equipotential bonding according to EN 62305-3 (VDE 0185-305-3)
or for connecting spark gaps to the service entry mast
Clamping range Ø pipe: 76 mm (2 1/2")
Material: St/tZn
Hole Ø: 11 mm

Brand: DEHN
Type: ERS 76 AB11 STTZN
Part No.: 410212
or equivalent.

Certificates

 

Technical data

Clamping range Ø pipe 76 mm (2 1/2")
Material St/tZn
Hole Ø 11 mm
Standard EN 62561-1

Product 410212 was added to Notepad.

Product 410212 was added to the cart.

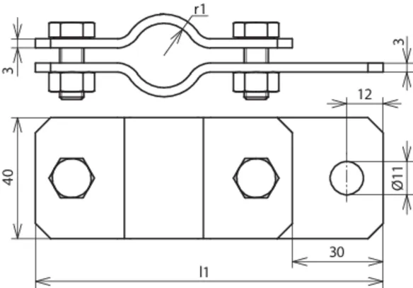
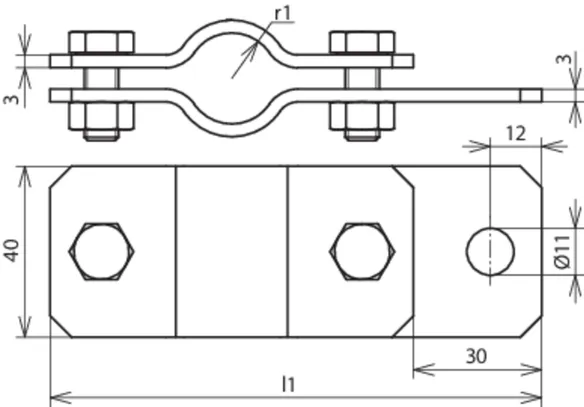
Part No. 410300 ERS 89 AB11 STTZN

GTIN 4013364026315, Customs tariff No. (EU): 85359000, Gross weight: 426.47 g, PU: 1.00 pc(s)


Images

Additional information

Pipe clamps for service entry masts, St/tZn
BS earthing pipe clamp
For integrating pipes in the equipotential bonding according to EN 62305-3 (VDE 0185-305-3)
or for connecting spark gaps to the service entry mast
Clamping range Ø pipe: 89 mm (3")
Material: St/tZn
Hole Ø: 11 mm

Brand: DEHN
Type: ERS 89 AB11 STTZN
Part No.: 410300
or equivalent.

Certificates

 

Technical data

Clamping range Ø pipe 89 mm (3")
Material St/tZn
Hole Ø 11 mm
Standard EN 62561-1

Product 410300 was added to Notepad.

Product 410300 was added to the cart.


back to top